Published:2009/7/20 20:51:00 Author:Jessie | From:SeekIC

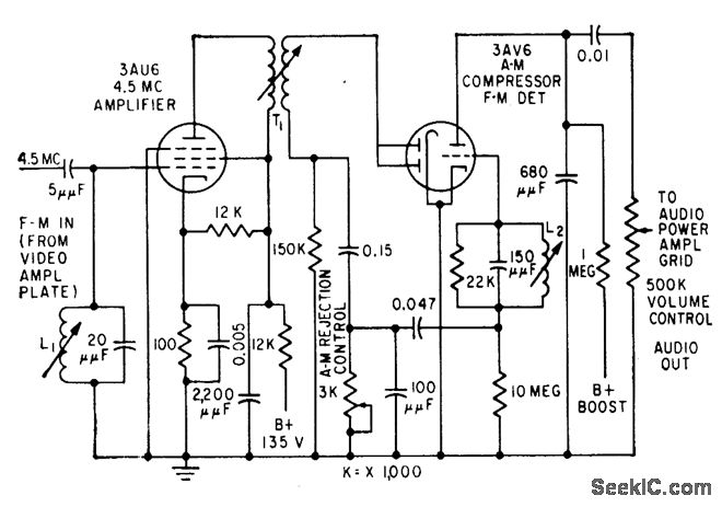
Costs less than ratio derector sound system. Uses discriminator circuit with triode operating us power detector, with cancellation of undesired aim fundamental.-R. B. Dome, Inexpensive Sound for Television Receivers, Electronics, 32:9, p 66-68.
Reprinted Url Of This Article:
http://www.seekic.com/circuit_diagram/Electrical_Equipment_Circuit/DELTA_TV_SOUND.html
Print this Page | Comments | Reading(3)
Code: