Published:2009/7/24 20:50:00 Author:Jessie | From:SeekIC



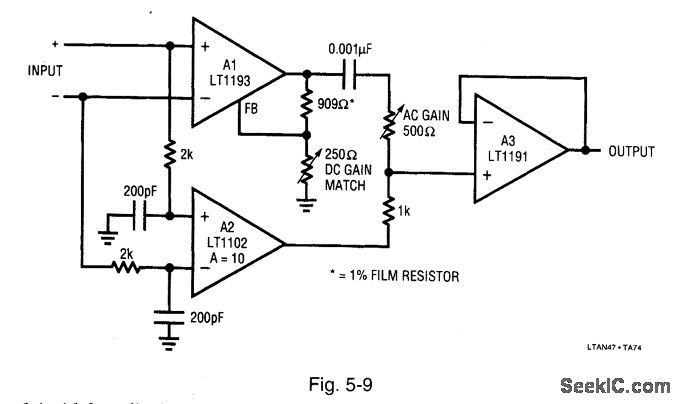
Figure 5-9 shows a way to get full differential inputs with dc-stabilized operation. Figure 5-10 shows the waveforms,Trace A is one side of the differential input applied to the circuit,trace B is the A1 output(taken at the 500-Ω pot and 0.001-μF junction),trace C is the A2 output, and trace D is the A3 output. To adjust, trim the AC GAIN pot for the squarest corners, and the DC GAIN pot for a flat top, of the output signal(trace D).Circuit gain is 10, bandwidth exceeds 35 MHz, slew rate is 450 V/pus, and dc offset is about 200 pV.LINEAR TECHNOLOGY, APPLICATION NOTE 47,P.35.
Reprinted Url Of This Article:
http://www.seekic.com/circuit_diagram/Electrical_Equipment_Circuit/Dc_stabilization_with_differential_input_and_gain_of_10.html
Print this Page | Comments | Reading(3)
Code: