Published:2009/7/21 3:53:00 Author:Jessie | From:SeekIC

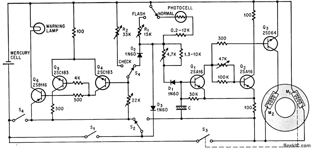
Uses six transistors and photocell to vary both aperture and exposure time automatically according to incident light, from range of 1/30 sec atf/2 to 1/500 sec at 1/16. Transistors are split into two groups, each having a Schmitt trigger and output stage. One group warns photographer when light is insufficient, by turning on warning lamp, and other group drives solenoid that closes shutter at right instant. If light is adequate, depressing shutter button further moves S2 to timing position, and closes 53 to energize solenoid M1 and open shutter to smallest aperture. Mechanical governor then gradually opens camera's combination shutter-iris until M2 snaps it closed under control of Q3.-Open and Shut Case, Electronics, 39:17, p 153-155.
Reprinted Url Of This Article:
http://www.seekic.com/circuit_diagram/Electrical_Equipment_Circuit/ELECTRONIC_CAMERA_SHUTTER.html
Print this Page | Comments | Reading(3)
Code: