Published:2011/6/14 3:55:00 Author:Lucas | Keyword: Electronic, fishing shrimp machine | From:SeekIC

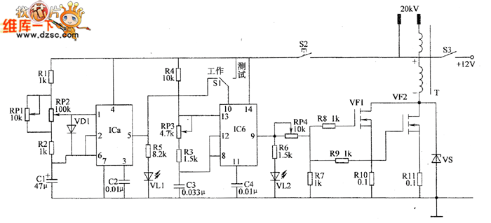
The electronic fishing shrimp machine circuit is composed of more than two multivibrators and high voltage generating circuit, and the circuit is shown as the chart. The low-frequency multivibrator is composed of one time-base IC of the dual time-base IC and resistors R1, R2, capacitors C1, C2, LED VL1, potentiometers RP1, RP2. When the oscillator works, VL1 shines. The high-frequency multivibrator is composed of the other time-base IC of the dual time-base IC and resistors R3, R4, light-emitting diode VL2, potentiometer RP3, capacitors C3, C4 and other components. When the oscillator works, VL2 shines. High-voltage generating circuit consists of the VM0S field-effect transistors VF1, VF2, resistors R7 ~ R11, Zener diode VS and step-up transformer T and so on.
Reprinted Url Of This Article:
http://www.seekic.com/circuit_diagram/Electrical_Equipment_Circuit/Electronic_fishing_shrimp_machine_circuit_diagram_1.html
Print this Page | Comments | Reading(3)
Code: