Published:2011/6/3 2:15:00 Author:Lucas | Keyword: Electronic rodent repeller | From:SeekIC

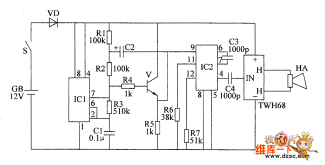
The electronic rodent repeller circuit is composed of the astable multivibrator, emitter follower converter, voltage controlled oscillator (YC0), driver amplifier circuit and the piezoelectric ceramic speaker HA with super loudness, and the circuit is shown as the chart. Astable multivibrator integrated circuit is composed of the time-base integrated circuit IC1, resistors R1 ~ R3, capacitor C1 and so on. Emitter follower converter is composed of the transistor V and the bias components. Voltage-controlled oscillator (VCO) consists of the PLL IC IC2 and external RC components. Driver amplifier uses TWH68 special amplifier module (including power amplifier circuit and ferrite step-up transformer, etc.). R1 ~ R7 select 1/4W carbon film or metal film resistors resistors.
Reprinted Url Of This Article:
http://www.seekic.com/circuit_diagram/Electrical_Equipment_Circuit/Electronic_rodent_repeller_circuit_diagram_3.html
Print this Page | Comments | Reading(3)
Code: