Published:2011/6/7 4:40:00 Author:Lucas | Keyword: Electronic rodent repeller | From:SeekIC

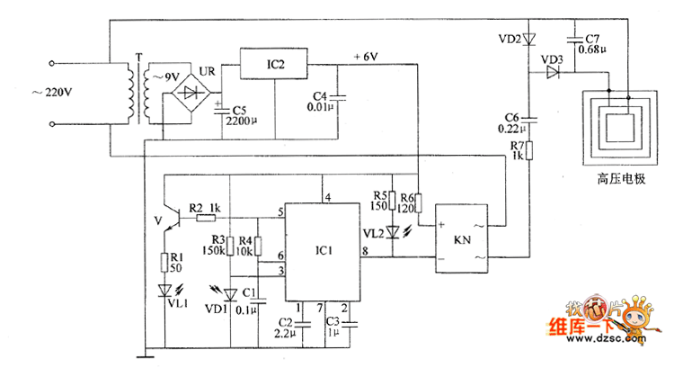
The electronic rodent repeller circuit is composed of the power circuit, infrared control circuit and high-voltage circuit, and the circuit is shown as the chart. Power circuit is composed of the power transformer T, bridge rectifier UR, filter capacitors C4, C5, and three-terminal voltage regulator integrated circuit IC2. Infrared control circuit consists of infrared light-emitting diode VL1, infrared photodiode VD1, transistor V, resistors R1 ~ R6, capacitors C1 ~ C3, integrated circuit IC1, light-emitting diode VL2 and solid-state relay KN. High voltage circuit is composed of the solid-state relay KN, resistor, capacitors C6, C7, diodes VD2, VD3, and high-voltage electrodes. 220V AC voltage is bucked by T, rectified by UR, filtered by C5 and stabilized by IC2 to provide +6 V voltage for infrared control circuit.
Reprinted Url Of This Article:
http://www.seekic.com/circuit_diagram/Electrical_Equipment_Circuit/Electronic_rodent_repeller_circuit_diagram_6.html
Print this Page | Comments | Reading(3)
Code: