Published:2009/7/25 0:18:00 Author:Jessie | From:SeekIC

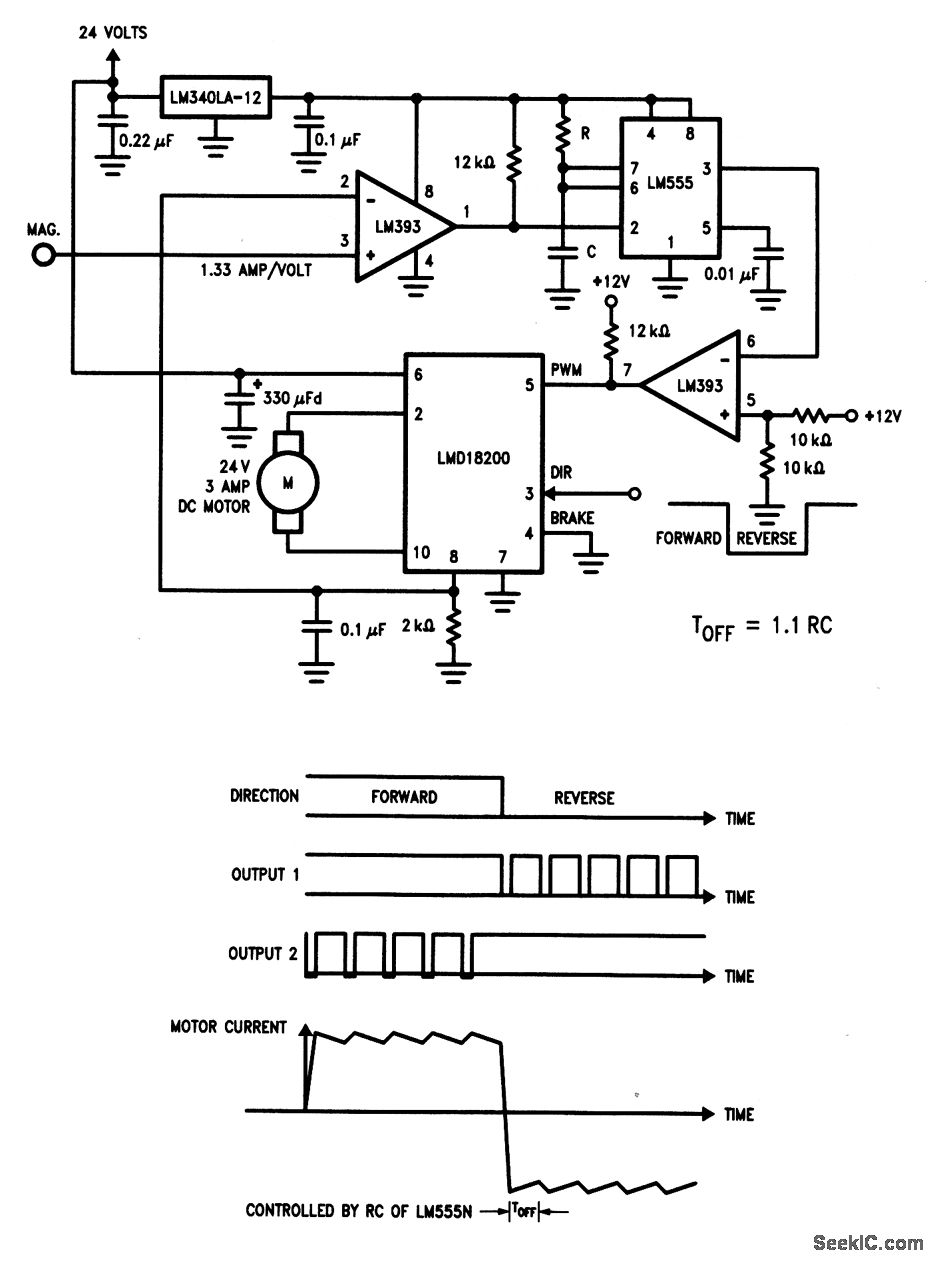
As shown by the waveforms in Fig. 3-31B, motor current modulates or dithers about a preset level, depending on the timer LM555 off-time (set by selection of R and C). The direction of motor rotation is set by the logic level at pin 3 of the LMD18200.
Reprinted Url Of This Article:
http://www.seekic.com/circuit_diagram/Electrical_Equipment_Circuit/Fixed_off_time_motor_control.html
Print this Page | Comments | Reading(3)
Code: