Published:2009/7/24 21:55:00 Author:Jessie | From:SeekIC

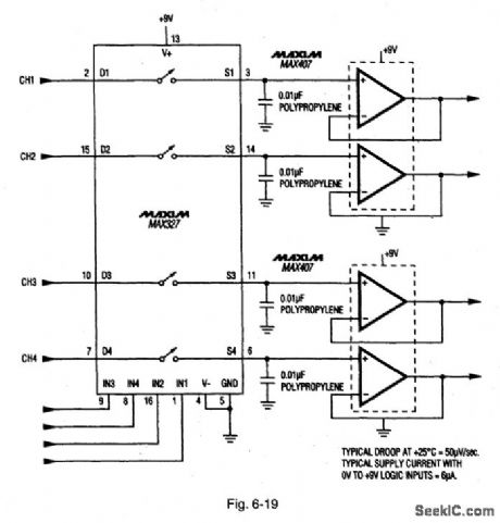
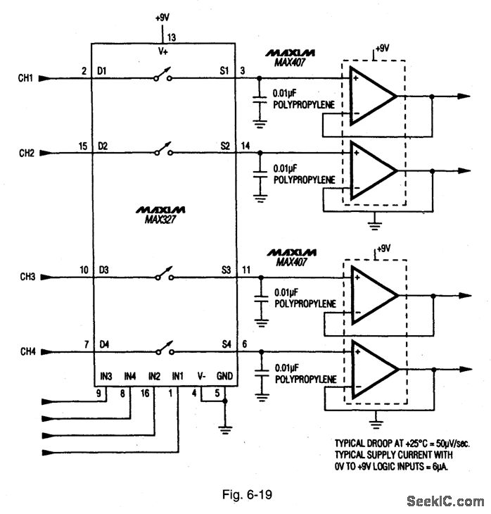
Figure 6-19 shows two MAX407s combined with a MAX327 to form a four-channel S/H circuit. See Fig. 6-18 for MAX407 pin configurations. MAXIM NEW RELEASESDATA BOOk, 1993, P. 3-30.
Reprinted Url Of This Article:
http://www.seekic.com/circuit_diagram/Electrical_Equipment_Circuit/Four_channel_sample_and_holdS_H.html
Print this Page | Comments | Reading(3)
Code: