Published:2009/7/24 3:50:00 Author:Jessie | From:SeekIC

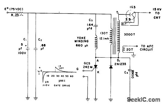
Uses gate-controlled switch GCS to replace horizontal output lube in television receiver, and semiconductor diode D1 to replace damper. GCS can cut off 2.5-amp peak current in 500 nsec.-J. W. Motto, Jr. GCS Sweep Circuit, EEE, 12:5, p 89-90.
Reprinted Url Of This Article:
http://www.seekic.com/circuit_diagram/Electrical_Equipment_Circuit/GCS_HORIZONTAL_SWEEP.html
Print this Page | Comments | Reading(3)
Code: