Published:2009/7/24 22:58:00 Author:Jessie | From:SeekIC

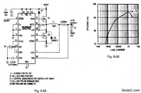
Figure 8-65 shows a MAX786 connected to provide 3.3 V from a 5-V supply. Figure 8-66 shows the efficiency curve. The circuit is suitable as a converter (possibly on a daughter card) to upgrade an existing desktop system with a new 3.3-V microprocessor. A synchronous rectifier is required. The input voltage range is 4.5 V to 6 V, with a quiescent current of 780 μA and a maximum load current capability (VIN = 4.5 V) of 3 A. MAXIM BAITERY MANAGEMENT CIRCUIT COLLECTION, 1994, P. 43.
Reprinted Url Of This Article:
http://www.seekic.com/circuit_diagram/Electrical_Equipment_Circuit/High_power_5_V_to_33_V_supply.html
Print this Page | Comments | Reading(3)
Code: