Published:2009/7/25 4:25:00 Author:Jessie | From:SeekIC

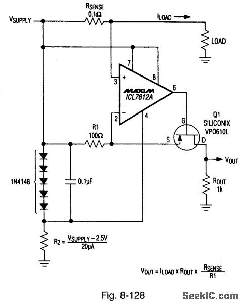
Figure 8-128 shows an ICL7612A micropower op amp connected to provide sensing of high-side current. The operating voltage range is 4.5 V to 48 V, quiescent current (VIN = 5 V) is 20 μA, and the gain factor is 1 VA. The circuit senses current in the positive battery lead, allowing the battery's negative terminal to be directly connected to circuit ground. The circuit output is a ground-referenced output voltage that is directly proportional to the current flowing in the low-value sense resistor. The output is typically added to the input of an A/D converter or integrating V/F converter. Because the output current is a true-current source, the output can be referenced to any level within the supply limits. The value of R1 should be kept in the range of 100 × RSENSE to 1000× RSENSE. MAXIM BATTERY MANAGEMENT CIRCUIT COLLECTION, 1994, P. 75.
Reprinted Url Of This Article:
http://www.seekic.com/circuit_diagram/Electrical_Equipment_Circuit/High_side_current_sense_amplifier.html
Print this Page | Comments | Reading(3)
Code: