Published:2009/7/24 20:55:00 Author:Jessie | From:SeekIC

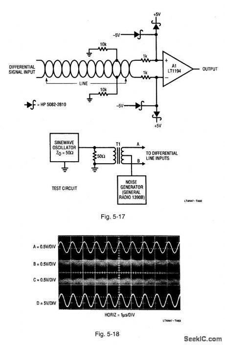
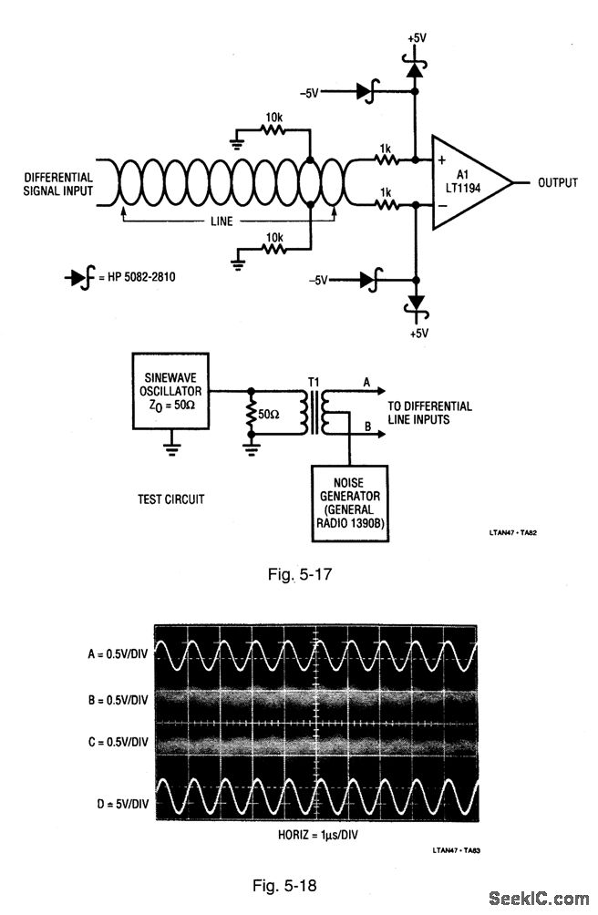
Figure 5-17 shows a simple, fast differential line receiver using an LT1194 gain-of-ten amplifier. A test circuit is also included on Fig. 5-17. Figure 5-18 shows the test results. The sine-wave oscillator drives T1 (trace A, Fig. 5-18), producing a differential-line output at the secondary. The T1 secondary is returned to ground through a broadband noise generator, flooding the inputs with common-mode noise (traces B and C are A1 inputs.) Trace D, the A1 ×10 version of the differential signal at the input, is clean with no visible noise or disturbances, in spite of the 100:1 noise-to-signal radio. LINEAR TECHNOLOGY, APPLICATIONS NOTE 47, P. 38.
Reprinted Url Of This Article:
http://www.seekic.com/circuit_diagram/Electrical_Equipment_Circuit/High_speed_differential_line_receiver.html
Print this Page | Comments | Reading(3)
Code: