Published:2009/7/23 21:15:00 Author:Jessie | From:SeekIC

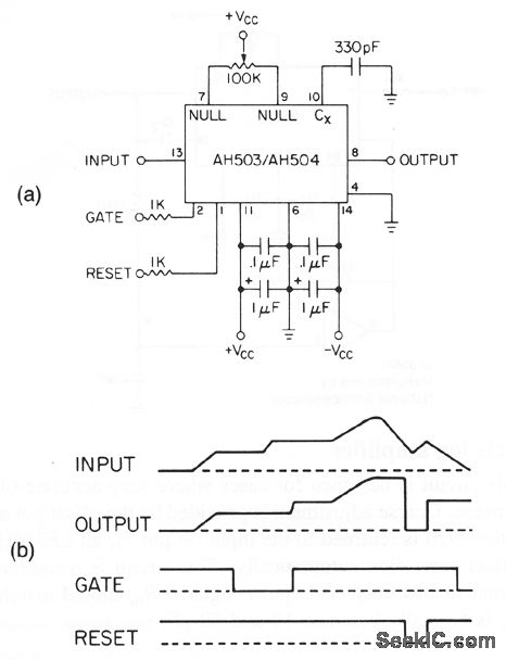
This circuit shows an AH503 or AH504 connected as a video-peak sensor or detector, using a minimum of extemal components. Figure 3-60B shows the related waveforms. The circuit will accommodate a 10-V pulse, and will capture individual 1-V pulses as narrow as 100 ns to within ± 10 mV. Delay between input peak and output settling is 500 ns.
Reprinted Url Of This Article:
http://www.seekic.com/circuit_diagram/Electrical_Equipment_Circuit/High_speed_video_peak_detector.html
Print this Page | Comments | Reading(3)
Code: