Published:2011/8/7 23:05:00 Author:Ecco | Keyword: Inductive electronic doorbell | From:SeekIC

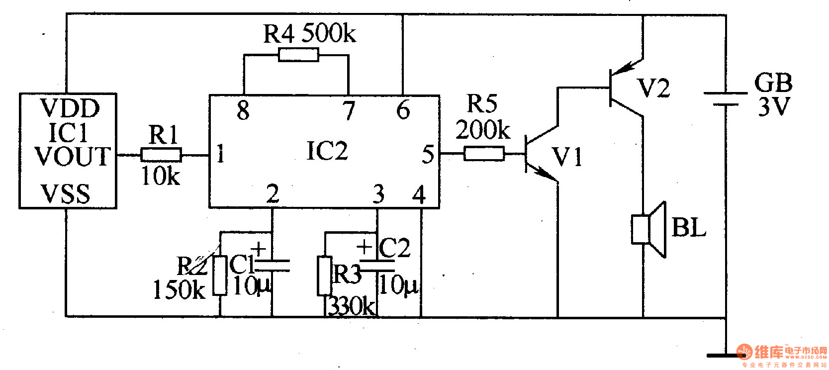
The inductive electronic doorbell circuit is composed of the trigger control circuit and audio output circuit, and it is shown in Figure 3-117. Trigger control circuit consists of pyroelectric infrared detection module lCl, doorbell circuit IC2, resistors Rl-R4 and capacitors Cl, C2. Audio output circuit consists of transistors Vl, V2, resistor R5 and speaker BL. Rl-R5 use the metal film resistors or carbon film resistors. Cl and C2 select the aluminum electrolytic capacitors with the voltage value being greater than 6V. Vl uses the S9013 or 3DG6 NPN transistor; V2 uses the C8550 or S8550 silicon PNP transistor.
Reprinted Url Of This Article:
http://www.seekic.com/circuit_diagram/Electrical_Equipment_Circuit/Inductive_electronic_doorbell_3.html
Print this Page | Comments | Reading(3)
Code: