Published:2011/5/16 22:55:00 Author:Nicole | Keyword: hand washing device | From:SeekIC

The circuit work theory
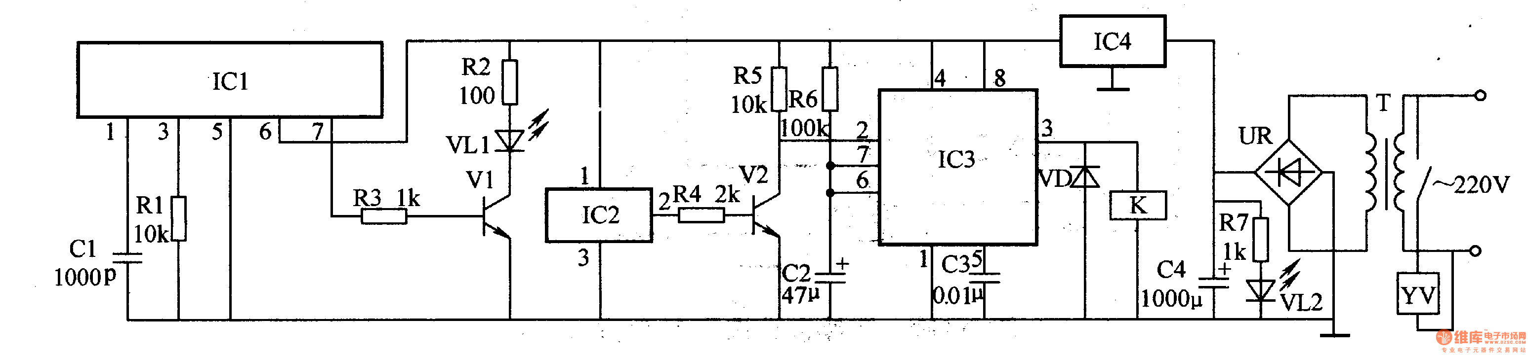
This infrared automatic hand washing device circuit is composed of power supply, infrared transmitting circuit, infrared receiving amplifier circuit and delay control circuit, the circuit is shown in the figure 9-120.
The power supply circuit is made of power transformer T, bridge rectifier UR, filter capacitor C4, current limiting resistor R7, power indication LED VL2 and three terminal regulator integrated circuit IC4.
The infrared transmitting circuit is made of infrared transmitting integrated circuit IC1, resistors R1-R3, capacitor C1, transistor V1 and infrared LED VL1.
The infrared receiving amplifier circuit consists of integrative infrared receiving integrated circuit IC2, resistors R4, R5 and transistor V2.
Reprinted Url Of This Article:
http://www.seekic.com/circuit_diagram/Electrical_Equipment_Circuit/Infrared_automatic_hand_washing_device_2.html
Print this Page | Comments | Reading(3)
Code: