Published:2011/5/16 22:34:00 Author:Nicole | Keyword: hand washing device | From:SeekIC

The circuit work theory
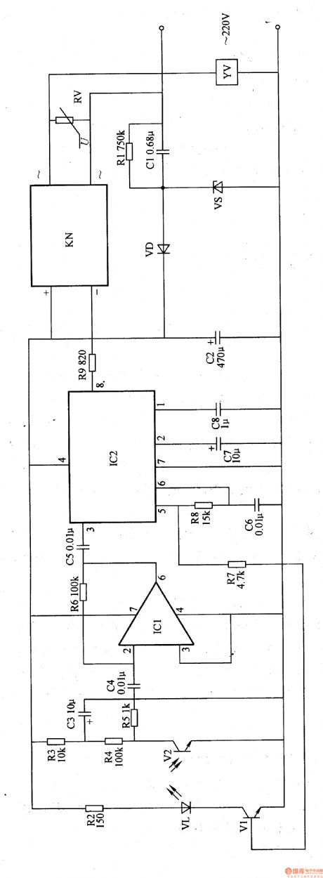
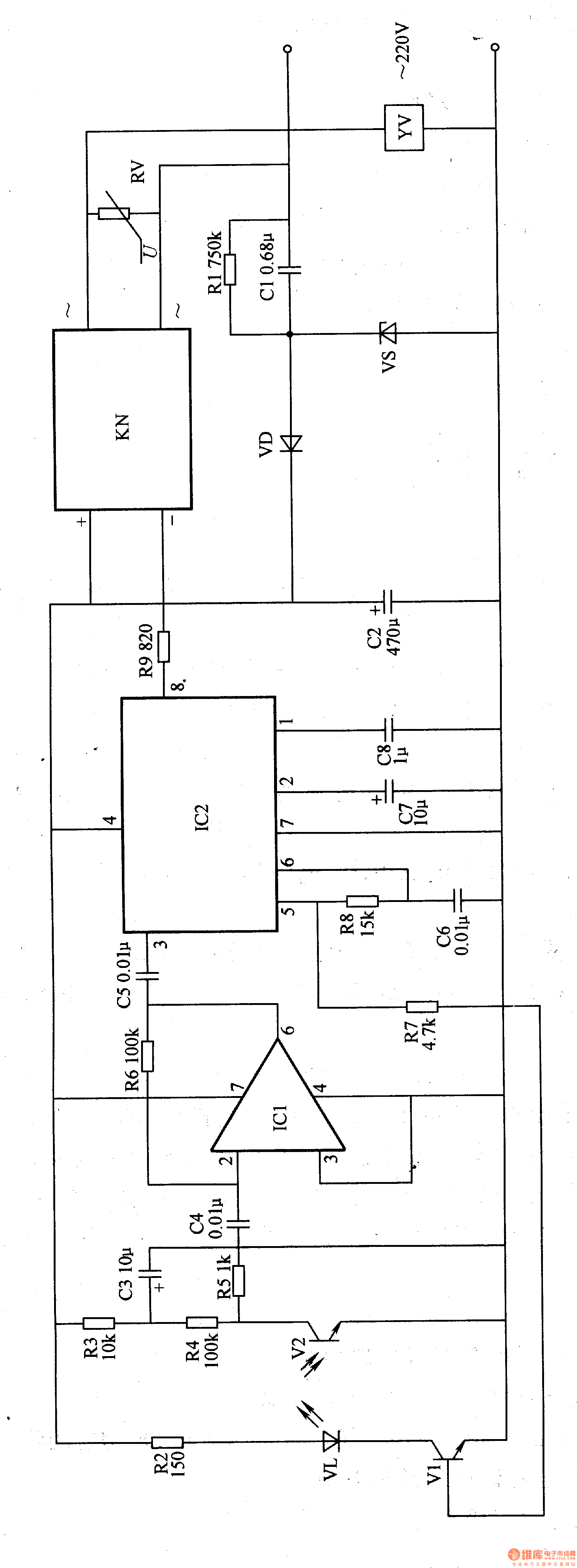
This infrared automatic hand washing device circuit is composed of power supply, infrared transmitting circuit, infrared receiving amplifier circuit and decoding control circuit, the circuit is shown in the figure 9-122.
The power supply circuit is made of capacitors C1, C2, resistor R1, voltage stabilizing diode VS and rectifier diode VD.
The infrared transmitting circuit is made of resistors R2, R7, infrared LED VL, transistor V1 and IC2's 5-foot internal circuit.
The infrared receiving amplifier circuit consists of resistors R3-R6, capacitors C3-C5, infrared light-sensitive transistor V2 and operational amplifier integrated circuit IC1.
Reprinted Url Of This Article:
http://www.seekic.com/circuit_diagram/Electrical_Equipment_Circuit/Infrared_automatic_hand_washing_device_4.html
Print this Page | Comments | Reading(3)
Code: