Published:2011/5/17 1:14:00 Author:Nicole | Keyword: Lavatory, flusher | From:SeekIC

The circuit work theory
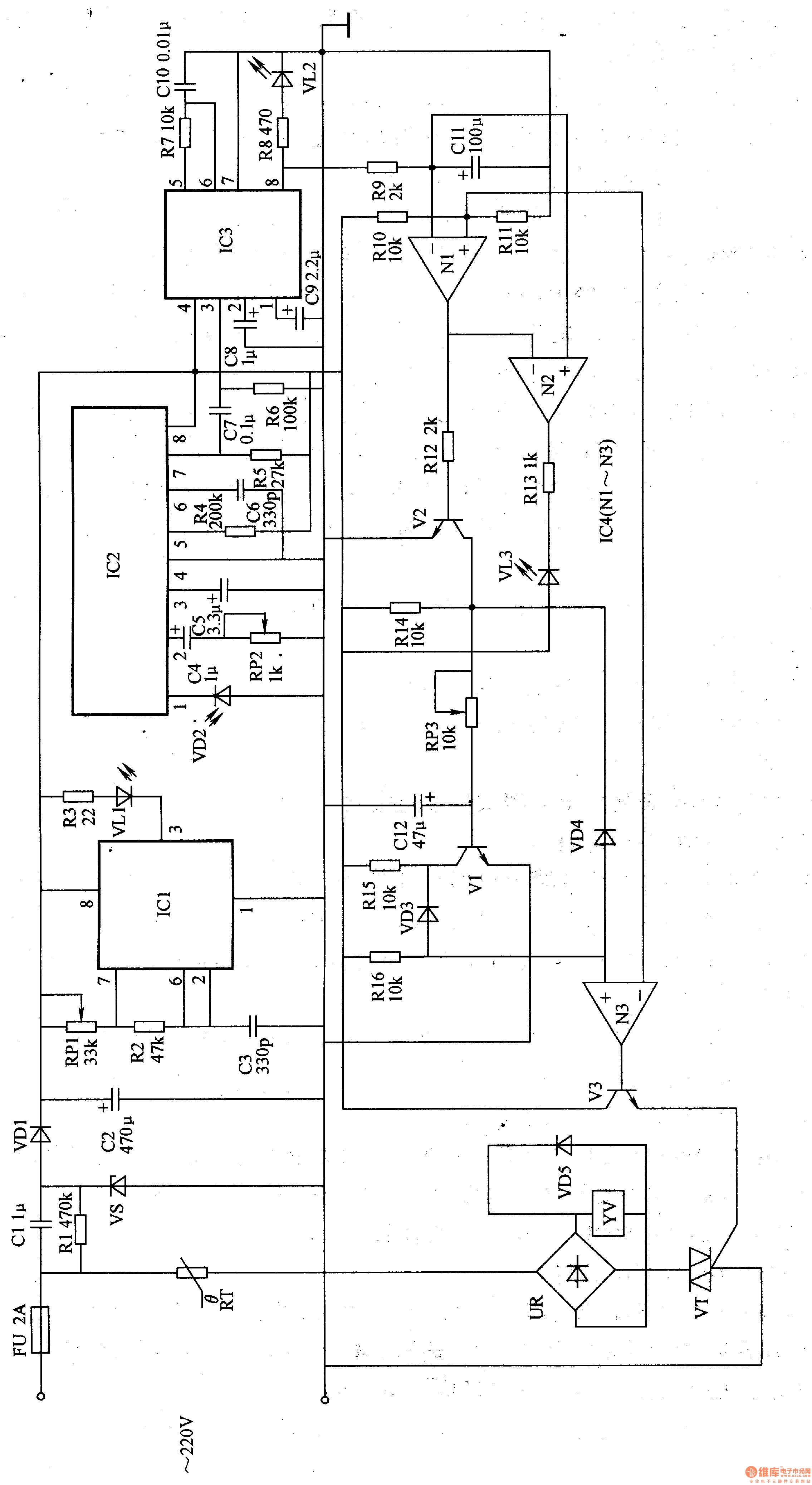
This lavatory automatic flusher circuit is composed of power supply circuit, infrared transmitting circuit, infrared receiving circuit, decoder circuit, delay control circuit, LED indication circuit and control implement circuit, the circuit is shown in the figure 9-129.
The power supply circuit is made of fuse FU, capacitors C1, C2, resistor R1, voltage stabilizing diode VS and rectifier diode VD.
The infrared transmitting circuit consists of time base integrated circuit IC1, resistors R2, R3, potentiometer RP1, capacitor C3 and infrared LED VL1.
Reprinted Url Of This Article:
http://www.seekic.com/circuit_diagram/Electrical_Equipment_Circuit/Lavatory_automatic_flusher_1.html
Print this Page | Comments | Reading(3)
Code: