Published:2011/5/17 1:24:00 Author:Nicole | Keyword: Lavatory, flusher | From:SeekIC

The circuit work theory
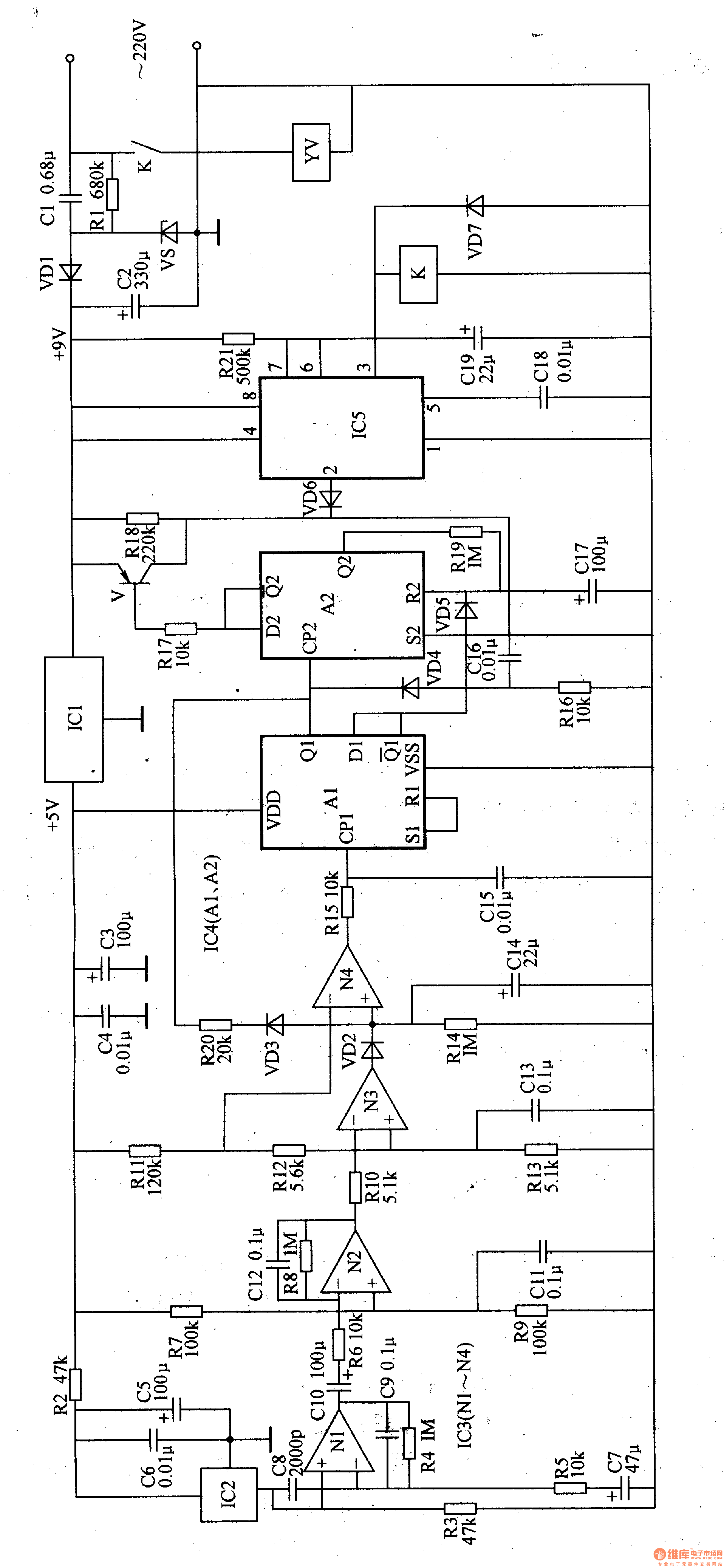
This lavatory automatic flusher circuit is composed of power supply circuit, infrared sensor signal amplifier circuit, delay amplifier circuit, trigger control circuit and control implement circuit, the circuit is shown in the figure 9-130.
The power supply circuit is made of capacitors C1-C6, resistors R1, R2, diode VD1, three terminal regulator integrated circuit IC1 and voltage stabilizing diode VS.
The infrared sensor signal amplifier circuit consists of pyroelectric infrared sensor integrated circuit IC2, operational amplifier integrated circuit IC3(Nl-N4)internal N1, N2, resistors R3-RlO and capacitors C7-C12.
Reprinted Url Of This Article:
http://www.seekic.com/circuit_diagram/Electrical_Equipment_Circuit/Lavatory_automatic_flusher_2.html
Print this Page | Comments | Reading(3)
Code: