Published:2009/7/23 21:09:00 Author:Jessie | From:SeekIC

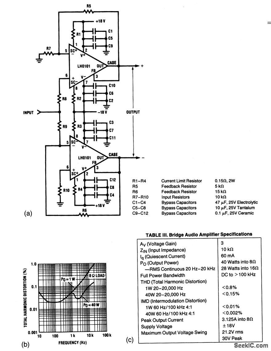
This circuit is capable of 40-W into an 8-Ω speaker, or 28-W into a 16-Ω speaker, with a voltage gain of 3 and a full-power bandwidth from dc to 100 kHz. Figures 1-44B and 1-44C show the circuit performance characteristics.
Reprinted Url Of This Article:
http://www.seekic.com/circuit_diagram/Electrical_Equipment_Circuit/Low_distortion_bridge_audio_power_amplifier.html
Print this Page | Comments | Reading(3)
Code: