Published:2009/7/25 4:21:00 Author:Jessie | From:SeekIC

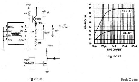
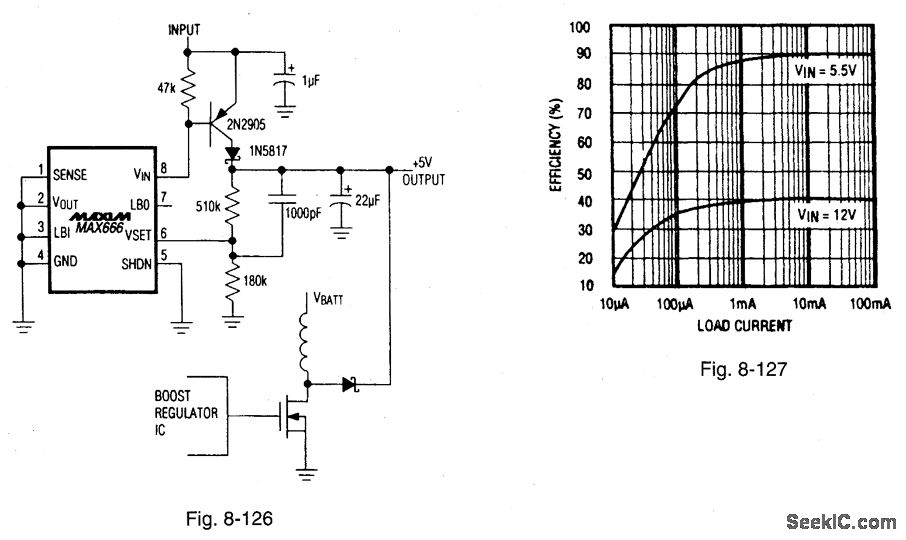
Figure 8-126 shows a MAX666 linear regulator connected to provide a 5-V output. This circuit is useful for uninterruptible battery-backup applications, as well as forlow-power circuits that use batteries for maln power and optionally take powerfrom wall-cube ac adapters.The input-voltage range is 5.4 V to 16.5 V, quiescent current(VIN =10 V) is 20 μA, dropout voltage (with 100-mA load) is 400 mV,maximum load current (VIN=6 V) is 500 mA and shutdown current is 5 μA,Figure 8-127 shows the efficiency curves.Notice that the pass transistor is externaland can be sized to handle the required power dissipation.If the dissipation is lowenough the MAX666 internal 50-mA power transistor can replace the 2N2905.TheMAX667 should also be considered In such cases. (The MAX667 has a larger, 250-mA pass transistor and lower dropout voltage.) MAXIM BATTERY MANAGEMENT CIRCUIT COLLECTION, 1994, P. 74.
Reprinted Url Of This Article:
http://www.seekic.com/circuit_diagram/Electrical_Equipment_Circuit/Low_dropout_linear_regulator.html
Print this Page | Comments | Reading(3)
Code: