Published:2009/7/24 3:16:00 Author:Jessie | From:SeekIC










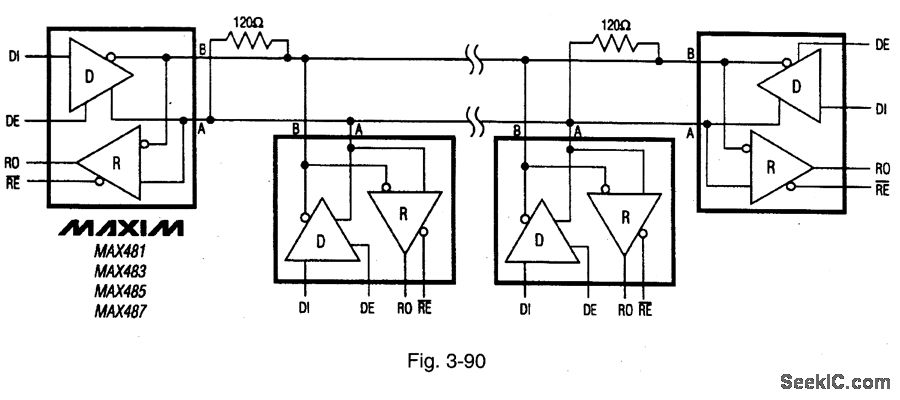
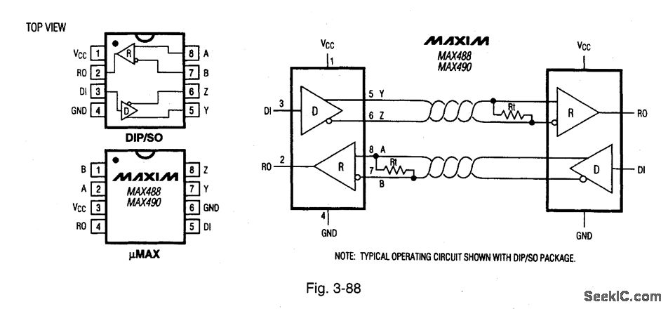
Figure 3-83 shows the typical application circuit and pin configurations for the MAX481/83/85/87. Figures 3-84, 3-85, and 3-86 show the pin functions. Figure 3-87 is the selection table. Figures 3-88 and 3-89 show typical application circuits and pin configurations for the MAX488 through MAX491. Figure 3-90 shows the 1NlAX481/83/85/87 in a typical RS-485 network. Figure 3-91 shows the MAX488 through MAX491 connected in a full-duplex RS485 network. Figure 3-92 shows the MAX488 through MAX491 connected as a line repeater. MAXIM NEW RELEASE DATA BOOK, 1995, P. 2-t59, 2-165, 2-166, 2-167, 2-168, 2-171, 2-172.
Reprinted Url Of This Article:
http://www.seekic.com/circuit_diagram/Electrical_Equipment_Circuit/Low_porter_RS_485_RS_422_transceivers.html
Print this Page | Comments | Reading(3)
Code: