Published:2009/7/20 21:12:00 Author:Jessie | From:SeekIC

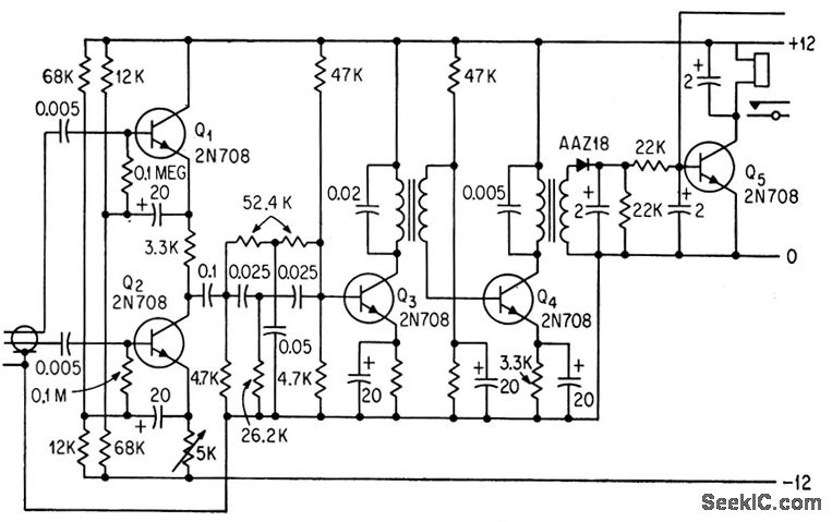
Differential input amplifier Q1-02 accepts myoelectric signals of 10 to 1,000 microvolts from stump muscles of amputee. Stagger-tuned interstage trans-formers for Q3-Q4 give bandwidth of 100to 1,000 cps +or main amplifier that drives integrating detector Q5 that operates relay to control servomotor for artificial hand.-G. W. Horn, Muscle Voltage Moves Artificial Hand, Electronics, 36:41, p 34-36.
Reprinted Url Of This Article:
http://www.seekic.com/circuit_diagram/Electrical_Equipment_Circuit/MUSCIE_SIGNAL_AMPLIFIER.html
Print this Page | Comments | Reading(3)
Code: