Published:2011/8/1 2:50:00 Author:Ecco | Keyword: Electronic , hypnotic device | From:SeekIC

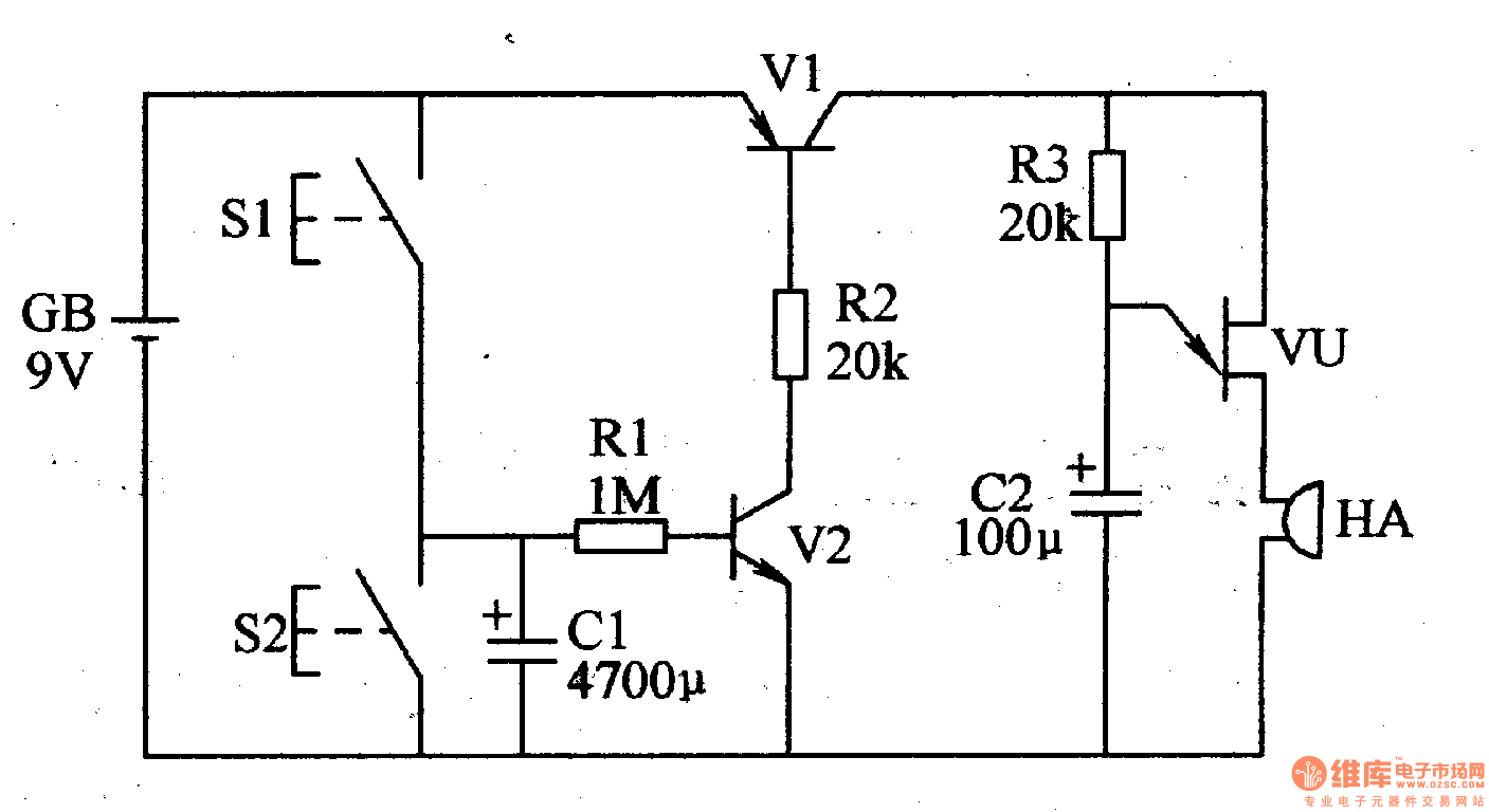
This example describes the electronic hypnotic device made by discrete electronic components , which will issue the simulated dripping water sound of tick, tick, tick when working. If insomnia intently listens to this sound of water, then he will quickly fall asleep. The working principle.The electronic circuit is composed of the oscillator circuit and timer circuit, and it is shown as Figure 9-138.
Oscillator is a relaxation oscillator composed of single-junction transistor VU and resistors R2, capacitor C2 , which outputs the narrow pulse signal with width in 1.2ms, interval in 1.4s, it emits the dropping sound by HA. Timer circuit consists of transistors Vl, V2, and starting button Sl, termination button S2 etc. It is used to control the oscillator work. Pressing the Sl, capacitor Cl is fully charged at the moment, V2 is on as the base being positively biased, so that Vl is also conducting, +9 V voltage is added to the oscillator Vl (c, e pole), the oscillator makes oscillation. About lh, Cl end the discharging (via resistor Rl, and V2, b, e node discharge), V2 and V1 are off, the oscillator stops. In the oscillator working period, If you click S2, then the Cl will discharge rapidly through the S2, so that V2, V1 are closing, the oscillator stops.
Reprinted Url Of This Article:
http://www.seekic.com/circuit_diagram/Electrical_Equipment_Circuit/Medical/Electronic_hypnotic_device_1.html
Print this Page | Comments | Reading(3)
Code: