Published:2011/8/1 2:25:00 Author:Ecco | Keyword: Electronic , hypnotic device | From:SeekIC

The electronic hypnotic device decribed in the example cangenerate simulated sound of dripping water, but also issue a low-frequency synchronized flashing signal, it is easy to reduce the tension, and the users will quickly go to sleep by listening to dripping water sound or watching flashing LED watch (LED), . The device can also be used as a stutter appliance.
The working principle.
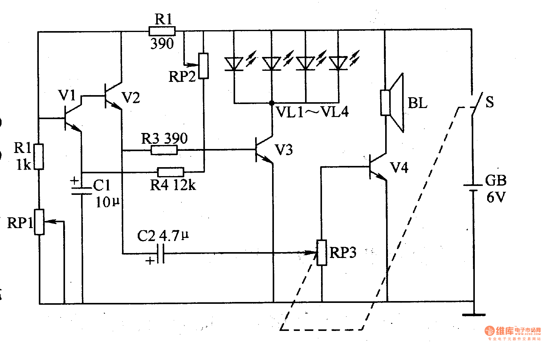
The electronic circuit is composed of the oscillator circuit and LED drive circuit and audio circuit, andit is shownas Figure 9-139.
Oscillator circuit consists of transistors Vl, V2 and related peripheral components. LED driver circuit consists of the transistor V3 and LED VLl-VL4. Audio circuit consists of transistor V4, coupling capacitor C2, and speaker BL, volume potentiometer RW. Turning the power switch S, the oscillator circuit oscillates, the emitter of V2 outputs oscillation signal. The oscillation signal is amplified by V3 to drive VLl-VL4 shining; another path is amplified by V4 to drive speaker BL toissue the sound of dripping water. Adjusting potentiometer RP2, RPl can change the oscillator frequency, thus changing the speed of sound dripping and LED flash frequency.
Reprinted Url Of This Article:
http://www.seekic.com/circuit_diagram/Electrical_Equipment_Circuit/Medical/Electronic_hypnotic_device_2.html
Print this Page | Comments | Reading(3)
Code: