Published:2011/4/26 6:15:00 Author:Ecco | Keyword: Electronic , hypnotic device | From:SeekIC

The working principle.
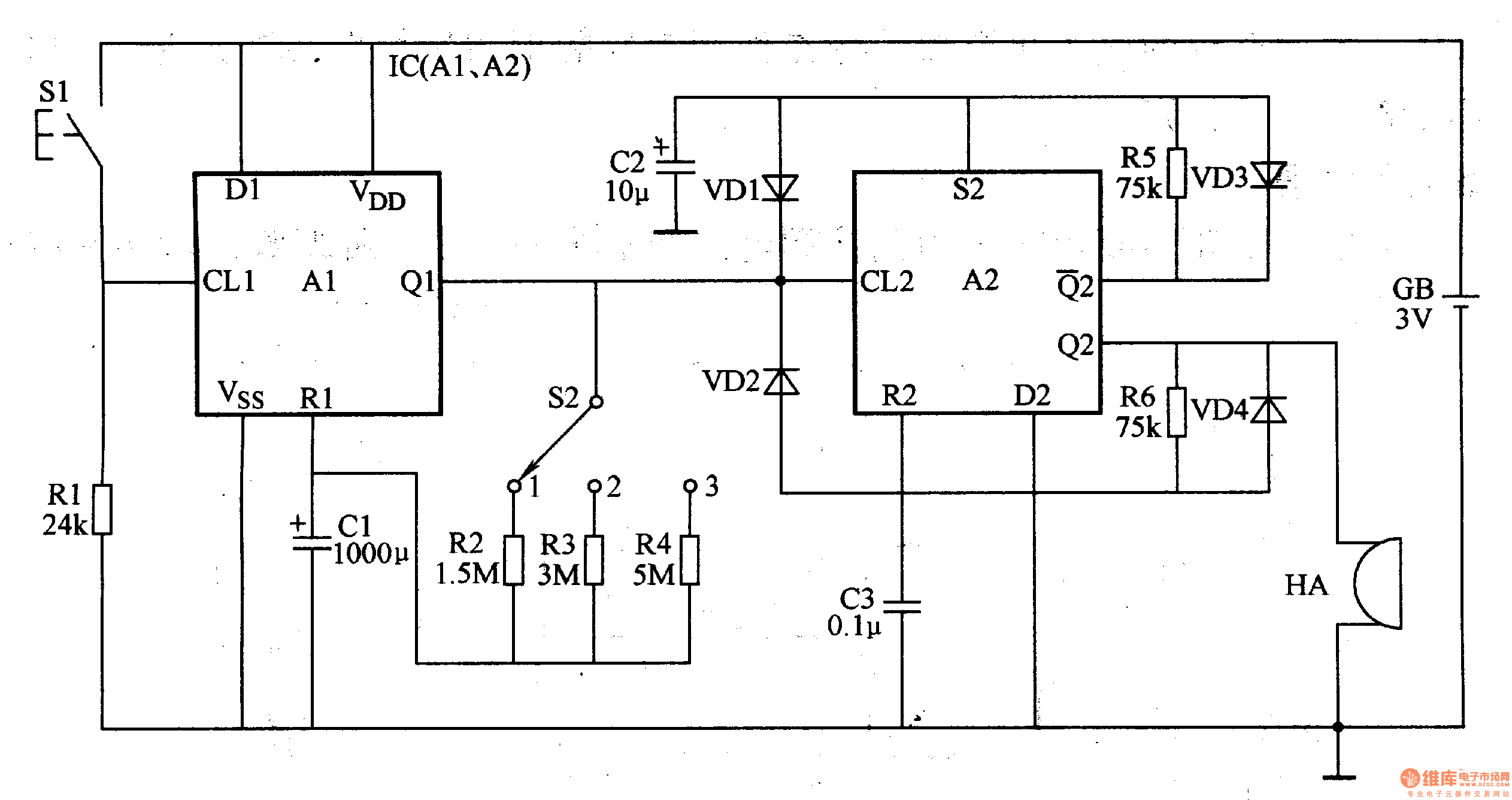
The electronic hypnotic device is composed of monostable circuit, self-excited multivibrator circuit and buzzer HA and other components, it is shown in Figure 9-142.
Monostable circuit is composed of dual D flip-flop integrated circuit IC (Al, A2) and resistors Rl-R4, capacitor Cl, control button 51 and delay time selection switch 52. Self-excited multivibrator circuit is composed of the other D flip-flop A2 inside the IC and diodes VDl-VD4, resistors R5, R6, capacitors C2, C3. Pressing button S1, the flip is triggered by the monostable circuit, IC's Ql outputs high level, the multi-harmonic oscillator works, the Q2 of IC outputs 2Hz oscillation frequency signal, the driver HA issues a similar sound of raindrops to help people sleep. When the charging of Cl is over, one-shot circuit returns to steady state, IC's Ql outputs low level again, multi-harmonic oscillator stops working, HA stops the sound.
Reprinted Url Of This Article:
http://www.seekic.com/circuit_diagram/Electrical_Equipment_Circuit/Medical/Electronic_hypnotic_device_5.html
Print this Page | Comments | Reading(3)
Code: