Published:2011/4/26 21:54:00 Author:Ecco | Keyword: Electronic , smooth wheezing device | From:SeekIC

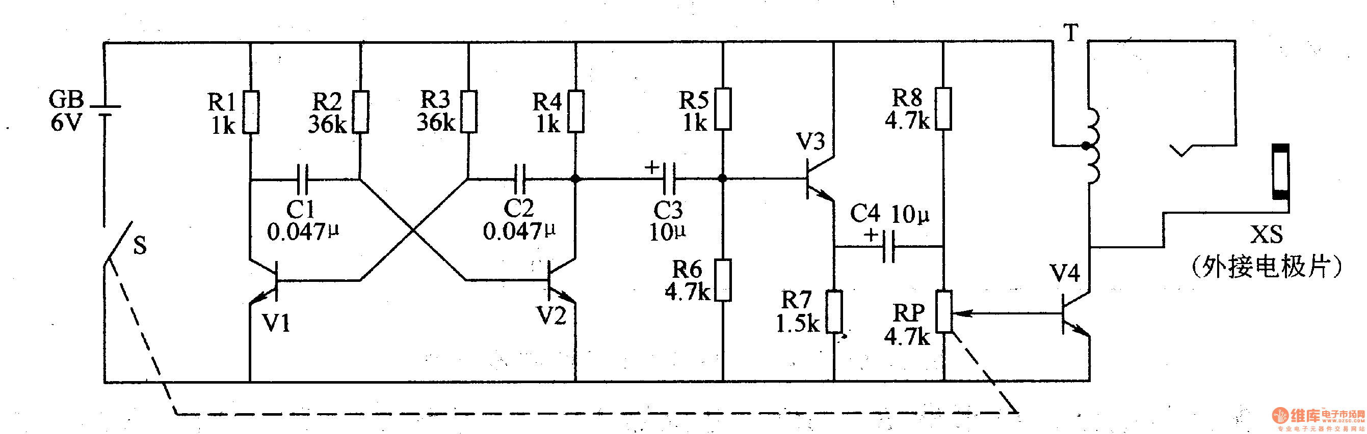
This example describes an electronic smooth wheezing device which is made by discrete electronic components, it produces high-voltage stimulation pulse, which can play the role of adjuvant therapy for cough patient. The working principleThe electronic smooth wheezing device circuit is composed of self-excited multivibrator, the buffer amplifier and voltage generator circuit, it is shown as Figure 9-156.
Self-excited multivibrator is composed of the transistor Vl, V2, capacitors Cl, C2 and resistors Rl-R4 and so on. Buffer amplifier circuit is composed of the emitter amplification tube V3, bias resistor R6 and geese coupling capacitors C3, C4. High-voltage generating circuit is composed of the potentiometer RP, resistors R8, amplified output tube V4, the garnet-type step-up transformer T and output socket XS. Self-excited multivibrator can generate the oscillation signal with frequency in 5OOHz, and it is amplified by the V3, V4 and transformer T, the outlet XS outputs pulse voltage which is more than lOOV.
Rl-R8 select 1/4W carbon film resistors or metal film resistors. RP selects WH-l5 series or WTR series of small synthetic carbon with switch potentiometer. Cl and C2 choose polyester capacitors or monolithic capacitors; C3 and C4 select the electrolytic capacitors with voltage value being greater than lOV. Vl-V3 use 3DG6 or S9014 silicon NPN transistor; V4 chooses S805O or C8050, 3DGl2 and other silicon NPN transistor.
Reprinted Url Of This Article:
http://www.seekic.com/circuit_diagram/Electrical_Equipment_Circuit/Medical/Electronic_smooth_wheezing_device.html
Print this Page | Comments | Reading(3)
Code: