© 2008-2012 SeekIC.com Corp.All Rights Reserved.
Published:2009/7/23 21:48:00 Author:Jessie | From:SeekIC


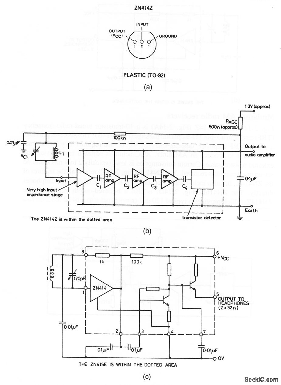
The ZN414Z (Fig. 2-14A) is a 10-transistor tuned-radio-frequency (TRF) circuit in a 3-pin TO-92 plastic package (Fig. 2-14B). The ZN414Z provides a complete RF amplifier, detector and AGC circuit that requires only six external components to produce an AM tuner. AGC action is adjusted by selecting one external resistor value. Current consumption is low (typically 2 to 4 mA), and no set-up or alignment is required. The ZN415E (Fig. 2-14C) retains all the features of the ZN414Z, but also includes a buffer stage that is capable of driving headphones directly. The ZN416E (Fig. 2-14D) is also a buffered-output version of the ZN414Z, which provides a typical 120 mV (rms)output into a 64-Ω load.
Reprinted Url Of This Article:
http://www.seekic.com/circuit_diagram/Electrical_Equipment_Circuit/Miniature_AM_radio_receivers.html
Print this Page | Comments | Reading(3)
Response in 12 hours
© 2008-2012 SeekIC.com Corp.All Rights Reserved.
Code: