Published:2009/7/24 9:16:00 Author:Jessie | From:SeekIC

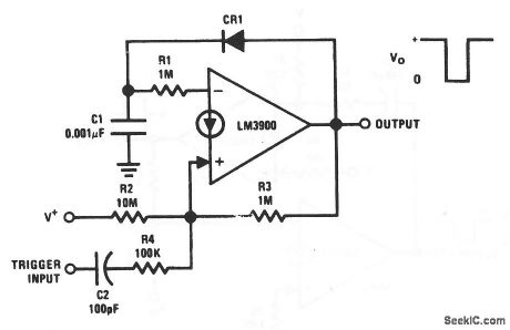
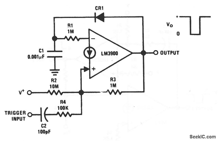
This circuit uses one LM3900 Norton amplifier to provide a negative one-shot output pulse. CR1 (a 1N914 or equivalent) permits rapid re-triggering. National Semiconductor, Linear Applications Handbook, 1991, p. 243.
Reprinted Url Of This Article:
http://www.seekic.com/circuit_diagram/Electrical_Equipment_Circuit/One_amplifier_one_shot_negative_output.html
Print this Page | Comments | Reading(3)
Code: