Published:2009/7/24 21:51:00 Author:Jessie | From:SeekIC

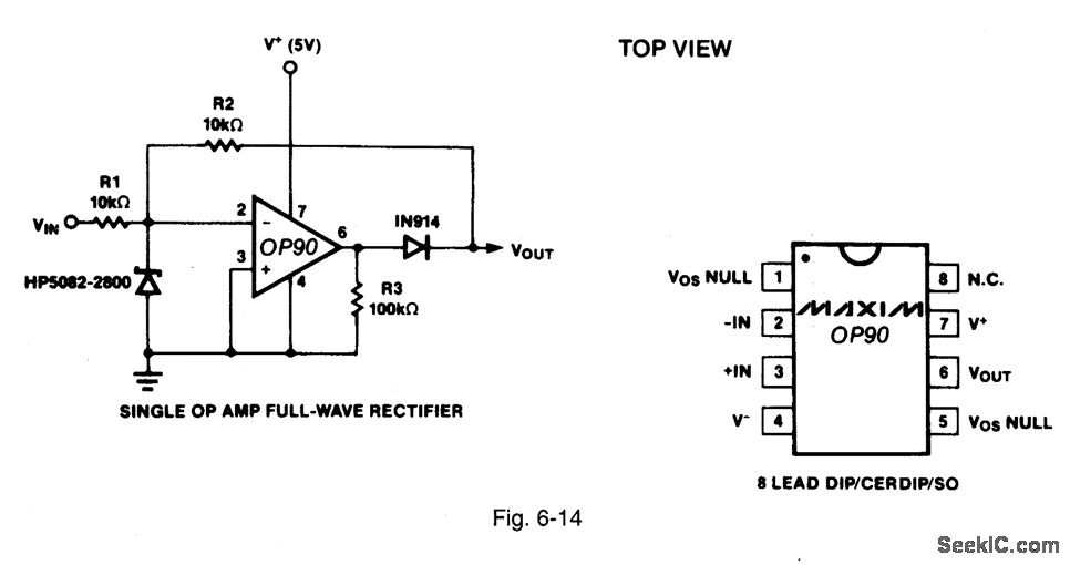
Figure 6-14 shows an OP90 connected to form a full-wave rectifier. This is similar to the circuit of Fig. 6-6, except that the OP90 has a maximum input-offset voltage of 150-μV (higher than the maximum of 70 μV for the MAX480). Similarly, the input bias current, input offset current, and drift specifications of the OP90 are higher than the MAX480. MAXIM NEW RELEASES DATA BOOK, 1993, P. 3-69.
Reprinted Url Of This Article:
http://www.seekic.com/circuit_diagram/Electrical_Equipment_Circuit/Op_amp_full_wave_rectifier.html
Print this Page | Comments | Reading(3)
Code: