Published:2011/7/30 9:12:00 Author:Robert | Keyword: Tracking, Device, Mechanism, Diagram | From:SeekIC

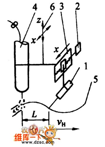
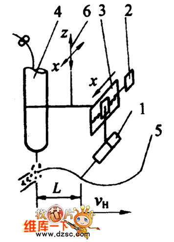
The picture shows the tracking device mechanism diagram circuit.
The part 1 is sensor. The part 2 is stepper machine. The part 3 is screw nut machanism. The part 4 is welding torch. The part 5 is welding with groove. The part 6 is connector (which is connected with the weldment bidirection adjustment mechanism).
Reprinted Url Of This Article:
http://www.seekic.com/circuit_diagram/Electrical_Equipment_Circuit/Other_circuit/Tracking_Device_Mechanism_Diagram_Circuit.html
Print this Page | Comments | Reading(3)
Code: