Published:2009/7/23 21:56:00 Author:Jessie | From:SeekIC

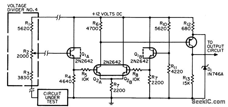
Used for monitoring nonseparable parallel paths for continuity in automatic testing equipment. Current through circuit under rest is limited, to prevent damage to low-power circuits. Resistance levels for continuity checks are set at 5, 20, 100, and 1,000 ohms.-R. H. Wassum, Parallel-Path Continuity-Checking Circuit, EEE, 14:8, p 164-166.
Reprinted Url Of This Article:
http://www.seekic.com/circuit_diagram/Electrical_Equipment_Circuit/PARALLEL_PATH_CONTINUITY_CHECKER.html
Print this Page | Comments | Reading(3)
Code: