Published:2009/7/21 4:02:00 Author:Jessie | From:SeekIC

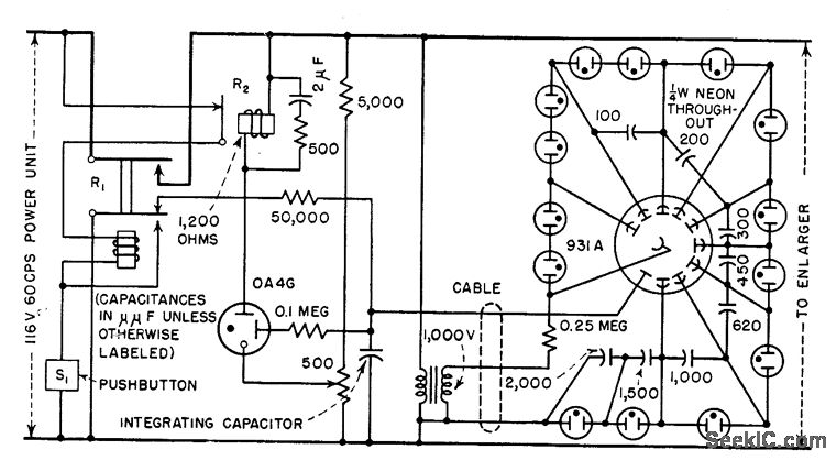
Quartet-watt neon lamps regulate dynode potentials. Graded-capacitor voltage divider across string of neons makes them fire in sequence, to eliminate variations in firing times and increase timing accuracy.-J. Markus and V. Zeluff, Handbook of Industrial Electronic Control Circuits, McGraw-Hill, N.Y., 1956, p 297.
Reprinted Url Of This Article:
http://www.seekic.com/circuit_diagram/Electrical_Equipment_Circuit/PHOTOMULTIPLIER_TIMER_FOR_ENLARGER.html
Print this Page | Comments | Reading(3)
Code: