Published:2009/7/20 21:07:00 Author:Jessie | From:SeekIC

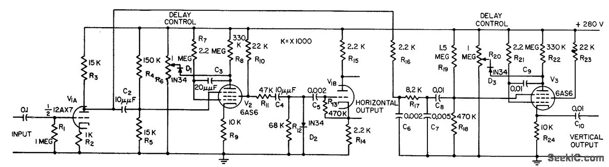
Phantastron circuits delay horizontal and vertical sync pulses, when added to monitor or tv receiver, to provide display for checking operation of tv station sync generator.-H. E. O'Kelley, Pulse-Cross Modification of Tv Receivers, Electronics, 31:9, p 54-55.
Reprinted Url Of This Article:
http://www.seekic.com/circuit_diagram/Electrical_Equipment_Circuit/PULSE_CROSS_DISPLAY_GENERATOR.html
Print this Page | Comments | Reading(3)
Code: