Published:2009/7/23 23:11:00 Author:Jessie | From:SeekIC

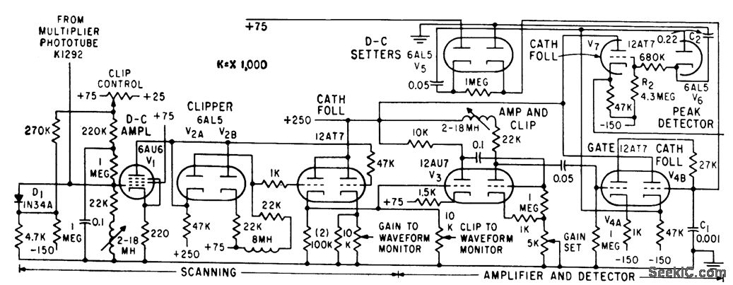
Measures movements of pupil of eye, using flying-spot scanning unit with multiplier phototube, amplifier-detector, and recorder.-G. W. King, Recording Pupil Changes For Clinical Diagnosis, Electronics,32:39, p 67-69.
Reprinted Url Of This Article:
http://www.seekic.com/circuit_diagram/Electrical_Equipment_Circuit/PUPILLOGRAPH.html
Print this Page | Comments | Reading(3)
Code: