Published:2009/6/23 21:56:00 Author:Jessie | From:SeekIC

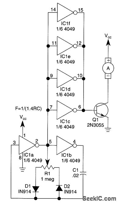
This circuit will drive a small dc motor over a wide range of speeds without stalling by controlling the duty cycle of the motor, rather than the supply voltage.
Reprinted Url Of This Article:
http://www.seekic.com/circuit_diagram/Electrical_Equipment_Circuit/PWM_MOTOR_DRIVE_CIRCUIT.html
Print this Page | Comments | Reading(3)
Code: