Published:2011/8/8 1:58:00 Author:Ecco | Keyword: Password electronic doorbell | From:SeekIC

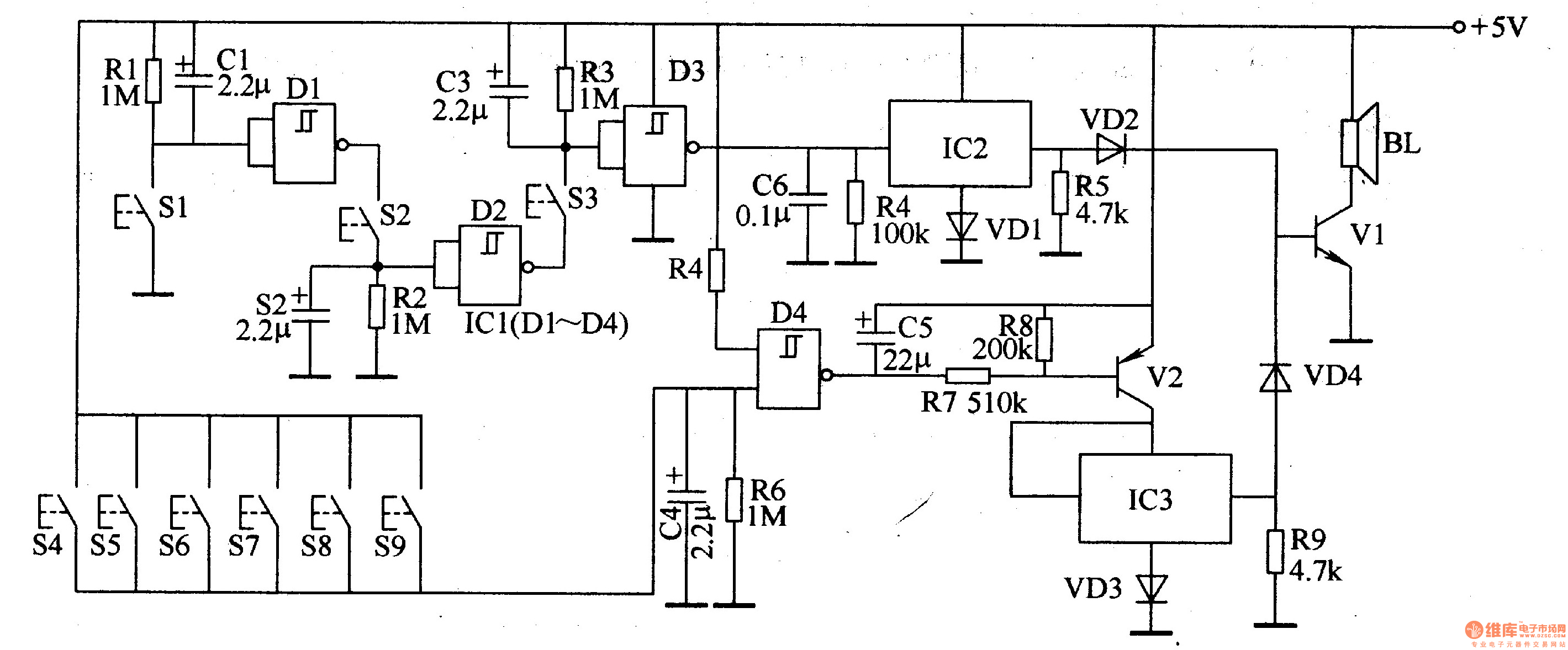
The password electronic doorbell circuit is composed of the trigger circuit and music generating circuit, and it is shown in Figure 3-119. Trigger circuit is composed of the buttons S1-S9, four NAND gate Schmitt trigger integrated circuit IC1 and the external RC components. Music generating circuit is composed of the integrated circuits lC2 and 1C3, transistors Vl and V2, diodes VDl-VD3, speaker BL and the RC components. Rl-R9 select the V4W carbon film resistors. CI-C5 select the aluminum electrolytic capacitors with voltage in lOV. VDl-VD4 select the 1N4148 silicon switch diodes. Vl uses S9013 silicon NPN transistor; V2 uses Sg012 silicon PNP transistor.
Reprinted Url Of This Article:
http://www.seekic.com/circuit_diagram/Electrical_Equipment_Circuit/Password_electronic_doorbell_2.html
Print this Page | Comments | Reading(3)
Code: