Published:2011/8/11 21:33:00 Author:Ecco | Keyword: Percussion electronic doorbell | From:SeekIC

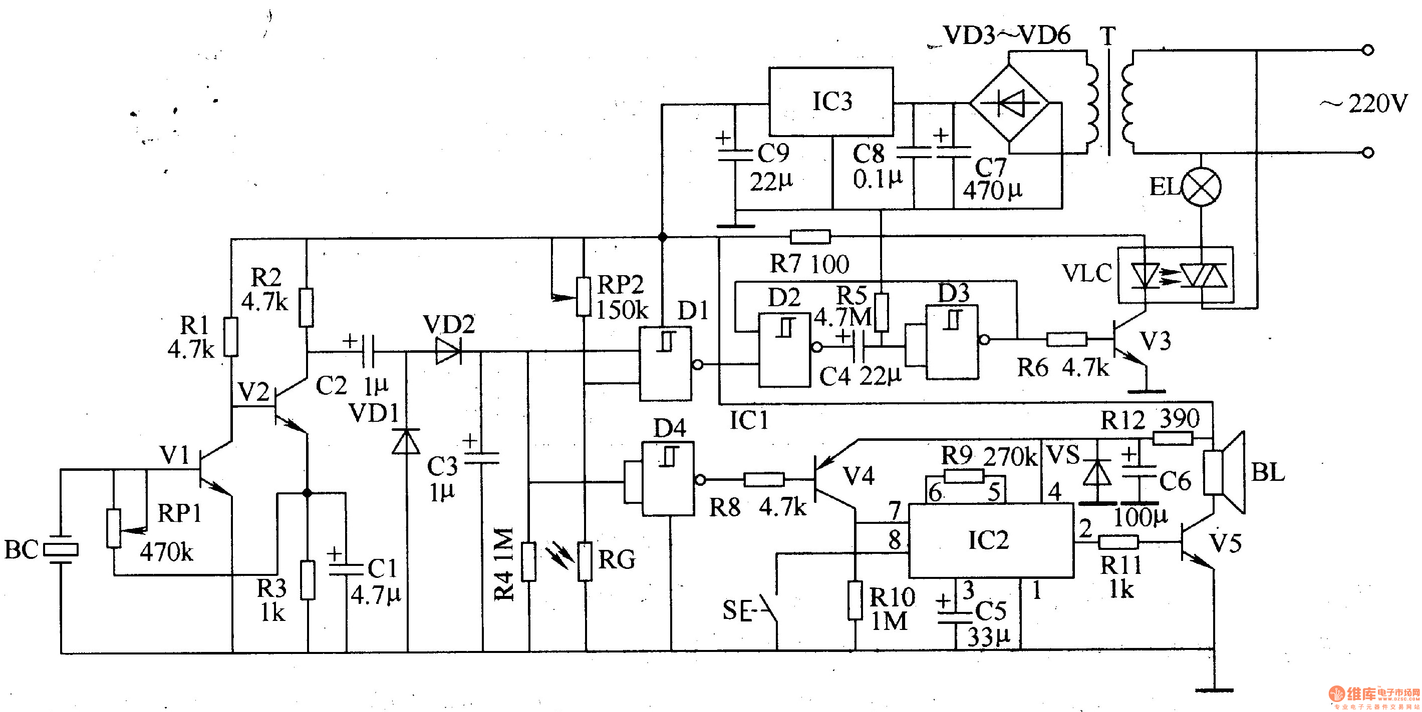
The percussion electronic doorbell circuit is composed of the percussion detection circuit, voltage doubling rectifying circuit, lamp trigger delay control circuit, light control circuit, doorbell trigger circuit, audio circuit and power supply circuit, and it is shown in Figure 3-114. Percussion detection circuit consists of piezoelectric ceramic BC, amplification tubes Vl and V2 and external RC components. Voltage doubling rectifying circuit is composed of the rectifier diodes VDl and VD2, capacitor C3 and other components. Lamp trigger delay control circuit consists of the internal triggers D1-D3 of four NAND gate Schmitt trigger circuit ICl, transistor V3, light coupler VLC and peripheral RC components.
Reprinted Url Of This Article:
http://www.seekic.com/circuit_diagram/Electrical_Equipment_Circuit/Percussion_electronic_doorbell_2.html
Print this Page | Comments | Reading(3)
Code: