Published:2011/6/14 2:57:00 Author:Lucas | Keyword: Plastic bag , sealing machine | From:SeekIC



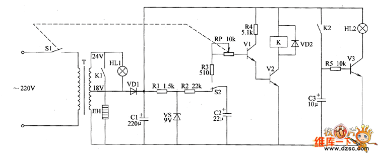
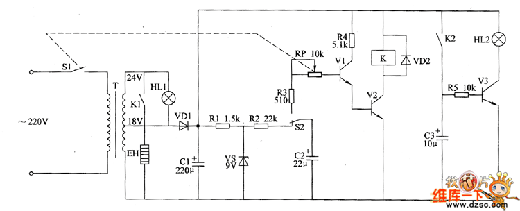
The plastic bag sealing machine circuit is composed of power supply circuit, heating control circuit and indicating circuit, and the circuit is shown as the chart. Power supply circuit is composed of the power switch S1, power transformer T, rectifier diode VD1, filter capacitor C1, resistor R1 and the current limiting voltage regulator diode VS. Heating control circuit consists of resistors R2 ~ R4, potentiometer RP, capacitor C2, transistors V1, V2, relay K, diode VD2, control switch S2, heater EH. Indicating circuit is composed of the power light HL1, working status indicator HL2, resistor R5, capacitor C3, transistor V3, and the normally open contact K2 of K. R1 ~ R5 use 1/4W carbon film resistors or metal film resistors.
Reprinted Url Of This Article:
http://www.seekic.com/circuit_diagram/Electrical_Equipment_Circuit/Plastic_bag_sealing_machine_circuit_diagram_3.html
Print this Page | Comments | Reading(3)
Code: