Published:2009/7/21 23:39:00 Author:Jessie | From:SeekIC

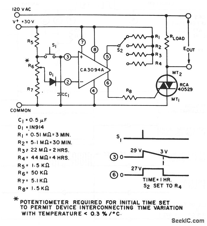
This circuit shows a CA3094A and triac connected to form a presettabletimer. The time is preset by the selected values of R1 through R4.
Reprinted Url Of This Article:
http://www.seekic.com/circuit_diagram/Electrical_Equipment_Circuit/Presettable_analog_timer.html
Print this Page | Comments | Reading(3)
Code: