Published:2009/7/24 20:25:00 Author:Jessie | From:SeekIC

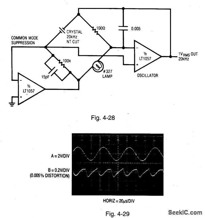
Figure 4-28 shows a bridge-oscillator circuit where the common-mode swing is suppressed by the addition of a second amplifier. This configuration forces the bridge midpoint to virtual ground by measuring the midpoint value and comparing it to ground. Because the bridge drive is complementary, the oscillator amplifier sees no common-mode swing, thus reducing distortion. Figure 4-29 shows less than 0.005% distortion(trace B)in the output(trace A)waveform.(Distortion measurements are covered In Chapter 6.) Lnvean TECHNOLOGY,APPLICATION Nom 43,P. 28.
Reprinted Url Of This Article:
http://www.seekic.com/circuit_diagram/Electrical_Equipment_Circuit/Quartz_stabilized_bridge_oscillator_with_common_mode_suppression.html
Print this Page | Comments | Reading(3)
Code: