Published:2009/7/21 5:20:00 Author:Jessie | From:SeekIC

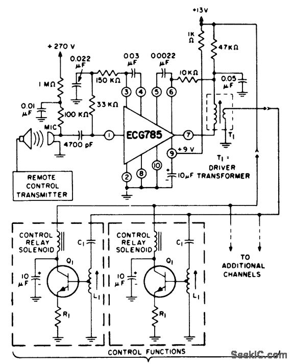
Remote control receiver for TV. Use ECG103 As for the relay drivers. Select the coils and transformers for the desired frequency. The ECG785 has a voltage gain of 129 dB at 40 kHz with the three internal amplifiers in cascade (courtesy GTE Sylvania Incorporated).
Reprinted Url Of This Article:
http://www.seekic.com/circuit_diagram/Electrical_Equipment_Circuit/Remote_control_receiver_for_TV.html
Print this Page | Comments | Reading(3)
Code: