Published:2009/7/24 1:31:00 Author:Jessie | From:SeekIC

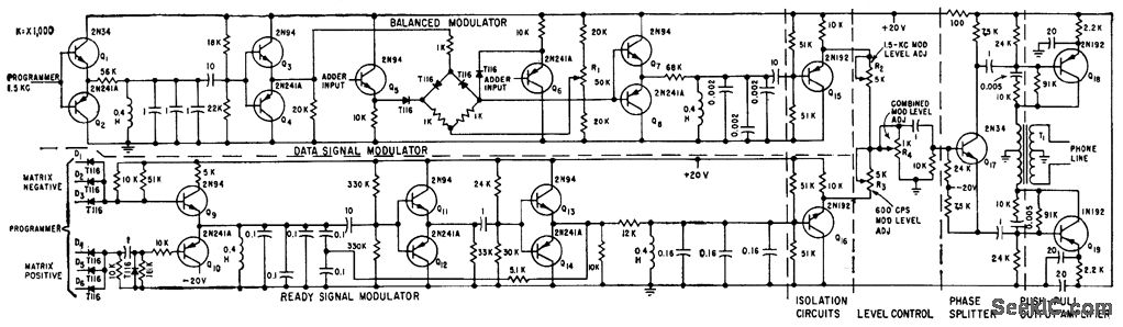
Used for modulating and mixing 1.5-kc data carrier and 600-cps ready signal in system for trans.mitting digitally encoded master shaft positions over phone line at 750 bits per sec and.-R. B. Palmiter, Digital System Positions Shafts Over Phone Line, Electronics, 32:7, p 62-66.
Reprinted Url Of This Article:
http://www.seekic.com/circuit_diagram/Electrical_Equipment_Circuit/SHAFT_POSITION_MODULATOR.html
Print this Page | Comments | Reading(3)
Code: