Published:2009/7/24 2:10:00 Author:Jessie | From:SeekIC

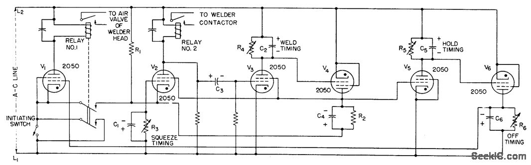
Five-thyratron sequence timer for resistance-type spot welder meets auto industry requirements for efficiency and reliability.-J. Markus and V. Zeluff, Handbook of Industrial Electronic Control Circuits, McGraw-Hill, New York,1956,p 343.
Reprinted Url Of This Article:
http://www.seekic.com/circuit_diagram/Electrical_Equipment_Circuit/SPOT_WELDING__TIMER.html
Print this Page | Comments | Reading(3)
Code: