Published:2009/7/24 3:43:00 Author:Jessie | From:SeekIC

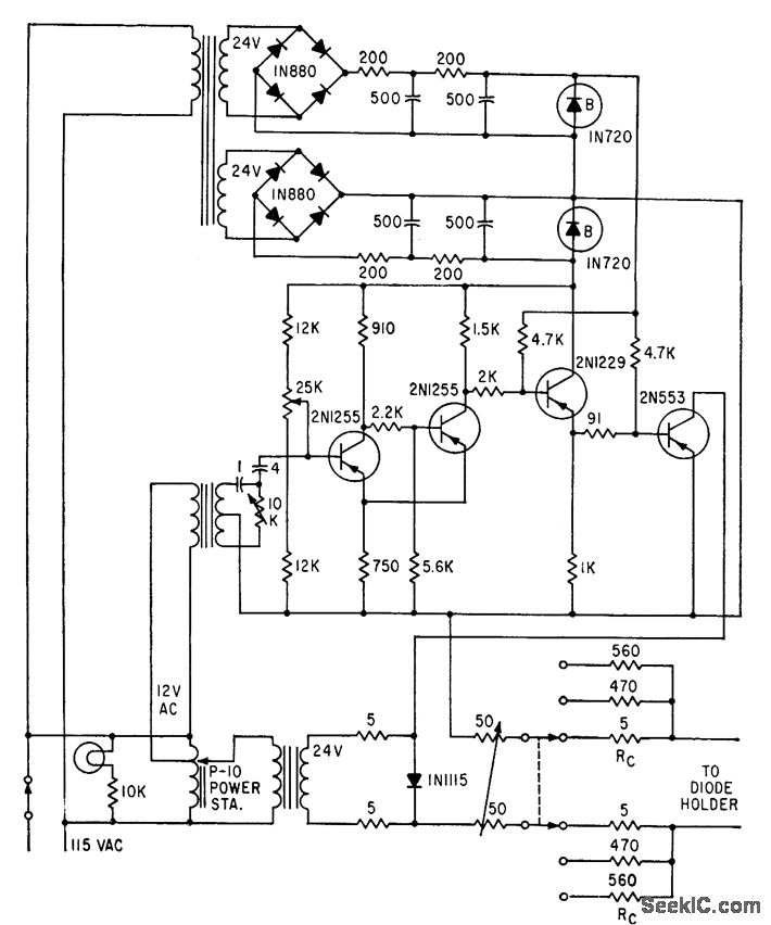
Schmitt trig get produces square waves to drive power switch used for obtaining characteristic curves of tunnel diodes in unstable negative-resistance region.-H. G. Dill and M. R. MacPherson, Tracing Tunnel Diode Curves, Electronics, 33:32, p 62-64.
Reprinted Url Of This Article:
http://www.seekic.com/circuit_diagram/Electrical_Equipment_Circuit/SWEEP_FOR_CURVE_TRACER.html
Print this Page | Comments | Reading(3)
Code: