Published:2009/7/21 3:40:00 Author:Jessie | From:SeekIC

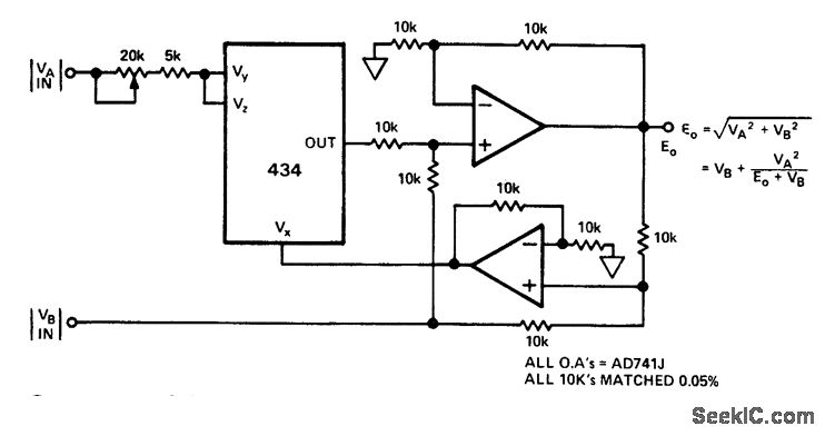
Square root of the sum of the squares circuit. This circuit performs vector computations (courtesy Analog Devices, Inc.).
Reprinted Url Of This Article:
http://www.seekic.com/circuit_diagram/Electrical_Equipment_Circuit/Square_root_of_the_sum_of_the_squares_circuit.html
Print this Page | Comments | Reading(3)
Code: