Published:2009/7/21 22:33:00 Author:Jessie | From:SeekIC

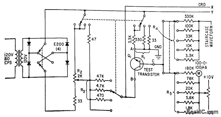
Staircase wave-form generator supplies lest transistor with six values of base current during etch cycle, to develop family of curves for cro. Range switches give wide choice of test voltages and currents. Four-layer and tunnel diodes can also be checked.-C. J. Candy, Simplified Curve Tracer for Transistors and Diodes, Electronics, 33:34, p 68-70.
Reprinted Url Of This Article:
http://www.seekic.com/circuit_diagram/Electrical_Equipment_Circuit/TRANSISTOR_CURVE_TRACER_1.html
Print this Page | Comments | Reading(3)
Code: