Published:2009/6/26 3:04:00 Author:Jessie | From:SeekIC

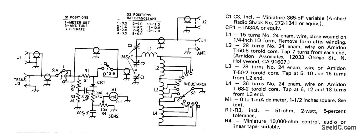
Tapped variable inductance and titree broadcast tuning capacitors are easily preadjusted to match low-power (QRP) transmitter to antenna for SWR of 1 in commonly used amateur bands. Resistance bridge is used only for initial determination of correct settings for C1, C2, C3, and S2 at each band to be used.Set S1 at n, feed peak output of transmitter to J1 (5 W maximum), and adjust R4 for full.scale frequency to be used. Repeat procedure with reading of M1. Next, conned 50.ohm resistive antenna or feed line in place of dummy load, load between CR1-R1 junction and ground. Meter reading should now drop to zero, indicating null at 50 ohms,Move 50-ohm dummy load to J2, set S1 at 2, and adjust seetings of C1,C2, and C3 for zero deflection of meter,Note settings, then repeat for each other transmitter frequency to be used. Repeat procedure with antenna or feed line in place of dummy load, After completing adjustments, set S1 to 3 to bypass bridge for normal transmitter opetation.-D. DeMaw, A Poor Ham's QRP Transmatch, QST, Oct. 1973, p 11,13.
Reprinted Url Of This Article:
http://www.seekic.com/circuit_diagram/Electrical_Equipment_Circuit/TRANSMATCH.html
Print this Page | Comments | Reading(3)
Code: