Published:2009/7/21 3:51:00 Author:Jessie | From:SeekIC

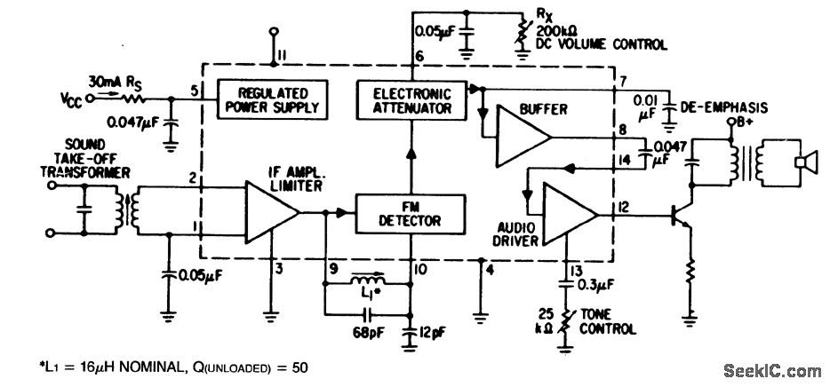
TV FM sound system using the ECG712. The supply terminal can be connected to any supply voltage with a suitable dropping resistor provided that the dissipation rating, 400 mW, is not exceeded since the ECG712 has internal zener regulation. Besides TV, the circuit can be used for FM mobile communications. It also employs DC volume control so no shielding is necessary (courtesy GTE Sylvania Incorporated).
Reprinted Url Of This Article:
http://www.seekic.com/circuit_diagram/Electrical_Equipment_Circuit/TV_FM_sound_system_using_the_ECG712.html
Print this Page | Comments | Reading(3)
Code: