Published:2009/7/23 23:56:00 Author:Jessie | From:SeekIC

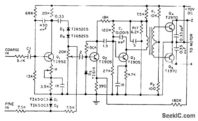
Directly drives size 11 motor, eliminating need for output transformer. Zener diodes provide switching between fine and coarse signals for two speeds. Maximum coarse and One signal input is 26 V rms at 400 cps. Voltage gain of coarse amplifier Q1 is 25, and gain of feedback amplifier Q2-Q3-Q4-Q5 is 460.-B. E. Orr, Direct Drive Amplifier for Two-Speed Servos, Electronics, 31:11, p 146-147.
Reprinted Url Of This Article:
http://www.seekic.com/circuit_diagram/Electrical_Equipment_Circuit/TWO_SPEED_SERVO.html
Print this Page | Comments | Reading(3)
Code: