Published:2009/6/25 22:06:00 Author:May | From:SeekIC

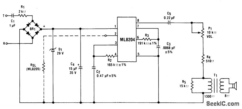
This circuit uses ML8204/ML8205 devices. With the components shown, theoutput frequency chops between 512 Hz (fH1) and 640 Hz (fH2) at a10 Hz (fL) rate.
Reprinted Url Of This Article:
http://www.seekic.com/circuit_diagram/Electrical_Equipment_Circuit/Telephone-Related_Circuit/TELEPHONE_OR_EXTENSION_TONE_RINGER.html
Print this Page | Comments | Reading(3)
Code: